Toyota 4Runner manuals

Toyota 4Runner: Horn

Components

COMPONENTS

ILLUSTRATION


Inspection

INSPECTION

PROCEDURE

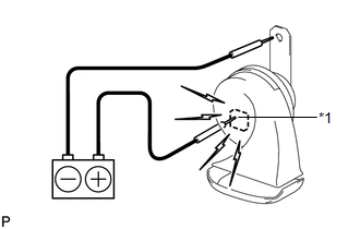
1. INSPECT HIGH PITCHED HORN ASSEMBLY


(a) Apply battery voltage and check the operation of the horn according to the table below.

OK:

Measurement Condition

Specified Condition

Battery positive (+) → Terminal 1 Battery negative (-) → Body ground

High pitched horn sounds

If the result is not as specified, replace the high pitched horn assembly.

Text in Illustration

*1

Terminal 1

2. INSPECT LOW PITCHED HORN ASSEMBLY


(a) Apply battery voltage and check the operation of the horn according to the table below.

OK:

Measurement Condition

Specified Condition

Battery positive (+) → Terminal 1 Battery negative (-) → Body ground

Low pitched horn sounds

If the result is not as specified, replace the low pitched horn assembly.

Text in Illustration

*1

Terminal 1

Removal

REMOVAL

PROCEDURE

1. REMOVE UPPER RADIATOR SUPPORT SEAL


2. REMOVE HIGH PITCHED HORN ASSEMBLY


(a) Disconnect the connector.

(b) Remove the bolt and high pitched horn assembly.

3. REMOVE RADIATOR GRILLE BRACKET


(a) Remove the 3 bolts and radiator grille bracket.

4. REMOVE LOW PITCHED HORN ASSEMBLY


(a) Disconnect the connector.

(b) Remove the bolt and low pitched horn assembly.

Installation

INSTALLATION

PROCEDURE

1. INSTALL LOW PITCHED HORN ASSEMBLY

(a) Install the low pitched horn assembly with the bolt.

Torque:

20 N·m {204 kgf·cm, 15 ft·lbf}

(b) Connect the connector.

2. INSTALL RADIATOR GRILLE BRACKET

(a) Install the radiator grille bracket with the 3 bolts.

3. INSTALL HIGH PITCHED HORN ASSEMBLY

(a) Install the high pitched horn assembly with the bolt.

Torque:

20 N·m {204 kgf·cm, 15 ft·lbf}

(b) Connect the connector.

4. INSTALL UPPER RADIATOR SUPPORT SEAL


Horn
...

Horn System
Parts Location PARTS LOCATION ILLUSTRATION Problem Symptoms Table PROBLEM SYMPTOMS TABLE HINT: Use the table below to help determine the cause of problem symptoms. If multiple suspected ...

Other materials about Toyota 4Runner:

Generator Signal Circuit
DESCRIPTION When the engine is started, the generator assembly turns on and a voltage pulse signal is generated. This signal is used by the air conditioning amplifier assembly. The signal expressing the amount of output from the generator assembly is one ...

Mute Signal Circuit between Stereo Component Amplifier and Telematics Transceiver
DESCRIPTION The DCM (telematics transceiver) sends a mute signal to the stereo component amplifier assembly. The stereo component amplifier assembly controls the volume according to the mute signal from the DCM (telematics transceiver). WIRING DIAGRAM ...

© 2016-2026 | www.to4runner.net

0.0239